开关由控制线路板发出各种逻辑命令管理电机,由电机转动经齿轮箱减速后带动弹簧蓄能、瞬时释放的操作机构,从而快速地接通与分断电路或进行电路转换,通过明显可见状态实现安全隔离。
开关可实现全自动、强制"0"、远程控制、紧急手动等操作;并具有缺相检测保护、电气机械互锁,带发电机(油机)等功能。开关造型优美,新颖简洁,体积小、功能全,是同类产品的最佳选择。
开关由控制线路板发出各种逻辑命令管理电机,由电机转动经齿轮箱减速后带动弹簧蓄能、瞬时释放的操作机构,从而快速地接通与分断电路或进行电路转换,通过明显可见状态实现安全隔离。
开关可实现全自动、强制"0"、远程控制、紧急手动等操作;并具有缺相检测保护、电气机械互锁,带发电机(油机)等功能。开关造型优美,新颖简洁,体积小、功能全,是同类产品的最佳选择。
|
约定发热电流(A) |
32 |
40 |
63 |
80 |
100 |
125 |
160 |
250 |
400 |
630 |
1000 |
1250 |
1600 |
2000 |
2500 |
3200 |
||||||||||||||||
|
额定绝缘电压 |
750V |
1000V |
||||||||||||||||||||||||||||||
|
介电强度 |
3KV |
5KV |
||||||||||||||||||||||||||||||
|
额定冲击耐受电压 |
8KV |
12KV |
||||||||||||||||||||||||||||||
|
额定工作电流(A) |
AC-31 |
32 |
40 |
63 |
80 |
100 |
125 |
160 |
250 |
400 |
630 |
1000 |
1250 |
1600 |
2000 |
2500 |
3200 |
|||||||||||||||
|
AC-35 |
32 |
40 |
63 |
80 |
100 |
125 |
160 |
250 |
400 |
630 |
1000 |
1000 |
1600 |
2000 |
2000 |
2500 |
||||||||||||||||
|
AC-33 |
32 |
40 |
63 |
80 |
100 |
125 |
160 |
250 |
400 |
500 |
800 |
800 |
1000 |
1250 |
1250 |
1600 |
||||||||||||||||
|
额定短时耐受电流 |
7KV |
9KV |
13KV |
26KV |
||||||||||||||||||||||||||||
|
额定限制短路电流 |
70KV |
100KV |
120KV |
|||||||||||||||||||||||||||||
|
操作力矩(N、m) |
12 |
19 |
26 |
39 |
50 |
80 |
||||||||||||||||||||||||||
|
电机能耗(W) |
启动 |
300 |
325 |
355 |
440 |
600 |
||||||||||||||||||||||||||
|
正常 |
55 |
62 |
74 |
98 |
120 |
|||||||||||||||||||||||||||
|
转换时间(S) |
0.45 |
0.6 |
1.2 |
1.5 |
||||||||||||||||||||||||||||
|
机械寿命(次) |
10000 |
5500 |
4000 |
3000 |
||||||||||||||||||||||||||||
|
重量(kg) |
3极 |
7.2 |
8 |
8.2 |
14 |
15 |
30 |
34 |
42 |
85 |
76 |
120 |
||||||||||||||||||||
|
4极 |
7.5 |
8.5 |
9 |
16 |
17 |
36 |
40 |
49 |
95 |
98 |
135 |
|||||||||||||||||||||
电气钥匙锁:控制开关内部控制线路电源,电气锁开启时.开关才能实现全自动、强置“0”、远控操作:电气锁关闭时.开关只可手动操作。
2、操作手柄:使用操作手柄手动操作时.必须先关闭电气锁。
3、机械挂锁:检修专用的挂锁机构,检修时将开关打到“0”档,再拉起挂锁机构并上挂锁,可防止任何的意外(拉起挂锁则切断开关内部控制 电源开关无法自动,同时可防止手柄套上)。
4、指示件:指示开关的三种状态(I、0、II)位置,“I”表示开关I接通,“II”表示开关II接通,“0”表示开关I、开关II都断开。
开户电气锁,开关全自动、强置“0”、远程控制 锁住挂锁机构,可防止手柄套上,同时切断内部控制电源
|
产品型号 |
A |
B |
C |
D |
E |
F |
H |
K |
L |
N |
P |
R |
T |
ФX |
Y |
Z |
|
CRQ5-32~100/3 |
215 |
120 |
175 |
100 |
70 |
124 |
200 |
85 |
7 |
30 |
30 |
14 |
2.5 |
6 |
38 |
90 |
|
CRQ5-32~100/4 |
245 |
120 |
175 |
130 |
70 |
124 |
230 |
85 |
7 |
30 |
30 |
14 |
2.5 |
6 |
38 |
90 |
|
CRQ5-125、160/3 |
268 |
135 |
225 |
140 |
85 |
172 |
245 |
110 |
7 |
33 |
36 |
20 |
3.5 |
9 |
56 |
130 |
|
CRQ5-125、160/4 |
298 |
135 |
225 |
170 |
85 |
172 |
275 |
110 |
7 |
33 |
36 |
20 |
3.5 |
9 |
56 |
130 |
|
CRQ5-250/3 |
310 |
170 |
260 |
180 |
110 |
205 |
285 |
110 |
7 |
38 |
50 |
25 |
3.5 |
11 |
60 |
145 |
|
CRQ5-250/4 |
360 |
170 |
260 |
230 |
110 |
205 |
335 |
110 |
7 |
38 |
50 |
25 |
3.5 |
11 |
60 |
145 |
|
CRQ5-400/3 |
375 |
240 |
320 |
225 |
160 |
240 |
350 |
180 |
9 |
42 |
65 |
32 |
5 |
11 |
80 |
188 |
|
CRQ5-400/4 |
435 |
240 |
320 |
290 |
160 |
240 |
415 |
180 |
9 |
42 |
65 |
32 |
5 |
11 |
80 |
188 |
|
CRQ5-630/3 |
375 |
260 |
320 |
225 |
160 |
240 |
350 |
180 |
9 |
42 |
65 |
40 |
6 |
13 |
80 |
188 |
|
CRQ5-630/4 |
435 |
260 |
320 |
290 |
160 |
240 |
415 |
180 |
9 |
42 |
65 |
40 |
6 |
13 |
80 |
188 |
|
CRQ5-1000/3 |
505 |
312 |
370 |
378 |
200 |
295 |
470 |
220 |
11 |
50 |
120 |
60 |
8 |
13 |
108 |
250 |
|
CRQ5-1000/4 |
625 |
312 |
370 |
498 |
200 |
295 |
590 |
220 |
11 |
50 |
120 |
60 |
8 |
13 |
108 |
250 |
|
CRQ5-1250/3 |
505 |
356 |
370 |
378 |
200 |
295 |
470 |
220 |
11 |
50 |
120 |
80 |
8 |
13 |
108 |
250 |
|
CRQ5-1250/4 |
625 |
365 |
370 |
498 |
200 |
295 |
590 |
220 |
11 |
50 |
120 |
80 |
8 |
13 |
108 |
250 |
|
CRQ5-1600/3 |
505 |
356 |
370 |
378 |
200 |
295 |
470 |
220 |
11 |
50 |
120 |
80 |
10 |
13 |
108 |
250 |
|
CRQ5-1600/4 |
625 |
356 |
370 |
498 |
200 |
295 |
590 |
220 |
11 |
50 |
120 |
80 |
10 |
13 |
108 |
250 |
|
产品型号 |
A |
B |
D |
H |
|
CRQ5-2000/3 |
5.20 |
460 |
378 |
350 |
|
CRQ5-2000/4 |
640 |
460 |
498 |
470 |
|
CRQ5-2500/ 3 |
520 |
160 |
378 |
350 |
|
CRQ5-2500/ 4 |
640 |
160 |
498 |
470 |
|
CRQ5-3200/3 |
520 |
510 |
378 |
350 |
|
CRQ5-3200 4 |
640 |
510 |
498 |
470 |
CRQ5-32~3200A 双电源开关的使用与调试
开关使用说明
1、非专业人士,请勿安装;非本公司许可,请勿拆开,以免损坏。
2、使用安装前,请仔细认真阅读本说明书,以免使用不当。
3、开关内部控制电源额定电压为220V,取自常用电源的C1.N1与备用电源的C2.N2,在85%-110%的额定控制电压范围内,开关方可正常工作。
4、开关进线端电源应有过压保护,以免电压过高而损坏内部线路板或控制电机。
5、开关出线端应有短路保护,以免短路时电流太大而烧坏开关本体。
6、使用安装时,请将电气钥匙锁关闭,并将开关打到“0”档。
7、开关接线时,请测量与区分电源进线的A.B.C.N,并接到开关的相应极上。
8、通电使用前,请再次测量C.N电压是否在85%-11O%的额定控制电压范围内,然后开启电气钥匙锁,正式投入工作。
9、开关正常投入后,请取下电气钥匙与操作手柄单独保管,以防意外。
开关调试说明
1、使用操作手柄,反复操作开关三次,开关应操作灵活。
2、全自动调试:按接线图接好相应的线,确认无误后再开启电气锁,然后接通双路电源,开关应转到“I”挡;再断开常用电源,开关应转到“II”挡:然后再接通常用电源,开关应返回转到“I”挡。
3、强制“0”调试:任何情况下,启动强制“0”自锁按钮,开关应转到“0”挡。
4、远程控制调试启动“I”挡按钮,开关应转到“I”挡;启动“II”挡按钮,开关应转到“II”挡。
5、检测信号指示灯:常/备用电源通/断电时,开关“I/II”通断时,电气/挂锁开/关时,各信号指示灯应作相应的指示。
6、调试完后,请先关闭电源,再用手柄将开关转到“0”挡。
CRQ5-32~3200A 双电源开关的使用与调试
CRQ5-32~100A带发电机接线

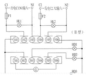
CRQ5-1000~3200A带发电机接线
Fl-2 (2A)熔断器 HL1:市电有电指示
HL2:发电有电指示 Ugel:电压继电器
Uge2:电压继电器 KT1通电延时继电器
KT2断电延时继电器 SB0:强制“0”自锁按钮
G:发电机启动信号 HDl:市电投入指示
HD2:发电投入指示 HD3:市电预断开指示
HD4:发电预断开指示 HD5:机械挂锁开/关指示
HD6:电气挂锁开/关指示
1.HD1-6、HL1-2指示灯可根据需要选择;
2.101与106为开关输出的指示灯电源,其中106为火线;
3.Ugel、Uge2、KT1、KT2继电器请用户自备。
产品安装与接线
ATSE的安装与调试中的各项工作应由专业人员和对该开关设备已了解的人员进行,工作中必须考虑相应的保护和预防措施,开关主回路 的接线方式必须使引线不受任何压力或强力作用。安装调试前应查验开关无损坏或其它任何有危害性的环境影响,同时应检查是否因运输过程 中造成的线头松动;清除脏污,尤其是绝缘件表而的脏污,在连接一次回路时应注意主备电源的相序必须一致,连接二次控制回路时应严格遵 照该说明书中列出的接线图,同时注意控制电源电压等级;开关安装时必须有良好的接地。
ATSE的使用
正常使用时,控制器应置“自动"位置。在自动控制工作方式下,ATSE控制器对主电源和备用电源同时进行监测并显示ATSE运行状态。当主 电源出现停电、欠压、过压、缺相等故障时,ATSE经‘‘备电延时”时间后自动将负载从主电源转换至备用电源;如果主电源恢复正常则经 “主电延时”时间(0-30S可调)后自动将负载从备用电源返回至主电源(自投不自复型ATES当备用电源正常时,即使主电源恢复正常, ATES亦保持负载与备用电源接通,不会将负载从备用电源返回至主电源,而当备用电源异常时,才将负载从备用电源返回至主电源)。控制 器面板上设有发光二极管指示开关及电源状况。?如不希望幵关自动转换,或需要进行其它手动操作时,应将控制器置|‘手动”位。手时 开关不再进行自动转换而是通过人为的操作进行转换。
?ATSE由M手动”转为“自动”时,如果主电源与备用电源均正常时,自投自复与自投不自复型ATSE均优先将主电源与负载接通.

![CRQ5双电源自动转换开关[斯沃型]](http://hd13bx.rmdqxs.com/upfiles/attached/image/20230801/20230801211203_24322.jpg)